保时捷新专利探索独特W12发动机,有望三涡轮

2025-10-18 12:03:44 来源:IT之家 作者:清源 编辑:黑暗大法师的左手 浏览:loading

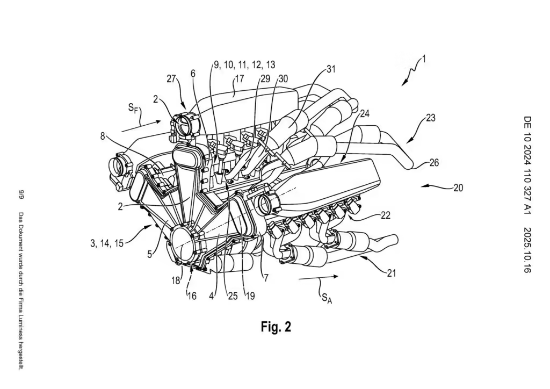
IT之家10月18日消息,据外媒Carscoops报道,保时捷去年提交了一项W12发动机的新专利,并于昨日正式公布。

该专利揭示了一种结构复杂、拥有三个明显气缸组的W12发动机,明确指出气缸呈W形排列。

游民星空

新发动机在现有W12基础上进行了多项技术改进。保时捷称,这些改进“既实用又非平凡”,专利重点说明了独特W型布局——不像两个V型组合,因而更具辨识度。

每个气缸盖至少配有一个进气口和一个排气口,进气口与空气歧管相连,排气口则与废气排放装置连接。空气歧管位于上方,几乎覆盖整个气缸盖,使空气可从上方流入进气通道,或由气缸内上下运动的活塞直接吸入,无需弯曲。空气室设有与进气口相通的开口,朝向曲轴方向。

游民星空

保时捷称,这种设计能够最小化摩擦损失,短进气口设计也能增加灵活性,同时缩短进气路径降低进气温度,并确保进气系统与排气系统清晰分隔。

新发动机有望支持三台涡轮增压器或机械增压器,性能远超旧款6.0升双涡轮W12发动机。IT之家从报道中获悉,旧款W12发动机曾驱动宾利MullinerBatur,最大输出功率740马力(552kW/750PS),扭矩1000N・m。

人喜欢
游民星空APP
随时掌握游戏情报
code
休闲娱乐
综合热点资讯
单机游戏下载
好物推荐
游民星空联运游戏
保时捷新专利探索独特W12发动机,有望三涡轮https://imgs.gamersky.com/upimg/new_preview/2025/10/18/origin_b_202510181203274632.jpg